AI says this never existed. I was just curious if this was something unusual as I can find not a single word about it anywhere.. Thanks for any help! ![]()
Welcome to The Forums! I’m excited about how many new users we’ve been getting recently! That’s definitely an extremely rare find.
No real surprise there given how rare of a device it is & also the Malcolite Corporation producing life safety devices like smoke detectors probably being not well-known (which is the case with a lot of companies, as a lot of them got in on the then-new smoke detector craze in the 70s).
“DO NOT PUSH WITHOUT COVER IN PLACE” That I find rather concerning: is that referencing the electrical parts that may be live when the detector is in alarm I wonder (whether being tested or sounding in response to actual smoke).
Can you find a model number anywhere? (& does it appear to run on 120VAC? (which the transformer supports)
Mhm, for sure!
Thanks for posting here and welcome to our forums. That’s definitely a rare find. If you’re looking to keep it very much do so. Otherwise you could sell it on ebay for a pretty good price.
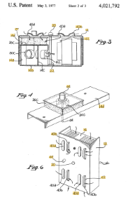
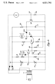
I found a patent assigned to Wellen Industries for a smoke alarm that looks a lot like yours.
sheet 1.
sheet 2.
sheet 3.
Hope this is helpful.
You know, it just so happens that someone else made a post about a Wellen Industries smoke detector not that long ago: wonder if the two are related somehow.
Maybe a rebrand or something idek
Hi! Thanks for the welcome and the responses! Yes, this unit was wired directly to the 120vac service, though someone had disconnected it at some point. I think that warning is definitely in reference to the internals..
We have been in the home for 15 years and this was the first time I’ve looked into the thing- It is in an out of the way area and never got much thought other than the assumption that it was an old doorbell chime.. I should included the picture of the backside, my apologies.
The only model number I can see is the one on the sticker that says Models 2001, -02, etc..
So here’s how it works, the little metal thing in the bottom left corner is a transformer, and you can put it on 120VAC and it should output DC 12-24?
Please don’t trash it, you might get some good money out of it if you sell it, if you do decide to trash it, take it to a electronics recycling center or a hazmat waste center.
On a closer look, the piezo has a Edwards Safety Technologies (EST) Logo on it! So it might be a est rebranded, or a EST PCB/ Component.
Not exactly I think: transformers do generally change one voltage of current to another (up or down), but unless there’s something like a bridge rectifier in the circuitry it’ll still be AC no matter what voltage comes out of the transformer.
That’s the newer Edwards “shield” logo to be exact, & yes, Edwards does make their own electromechanical horns like that one, which were used on many a smoke detector back in the day (not anymore though).
So basically est made horn components for smoke alarm manufacturers?
I’m pretty sure that like most horn makers they make ones for any application that needs them, one of which just happened to be smoke detectors. Also nowdays it’s just “Edwards”: they stopped being known as “EST” after 2010 & stopped using the “EST” name altogether (except for the EST2, EST3, EST3X, & EST4) after 2016 (though before 1992 they were also known as just “Edwards” as well, which would have been when they were supplying horns to detector manufacturers).






